ハードウェア取扱説明書

目次前へ次へ

1.3.2 PS-D11

AX6700Sシリーズ共通の電源機構です。

この電源機構はDC-48Vに対応しています。

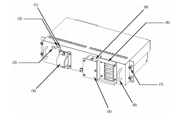
(1)  外観

図1-10 外観
(1) ALARM LED
(2) POWER LED
(3) 電圧測定端子
(4) ケーブルクランプ
(5) 端子盤のカバー
(6) 取っ手
(7) 取り付けネジ
(8) ブレーカ
(9) 端子盤

電源機構には電圧測定のための端子を設けています。ただし,この端子は,工場出荷時の検査のために使用します。お客様はご使用にならないでください。また,電圧測定端子に虫ピン,クリップなどの先の細いものを差し込んだりしないでください。火災・感電の原因となります。

(2)  LED

電源機構では,下表に示す2つのLEDの組み合わせによって状態を示します。

表1-6 LEDの表示について
名 称
内  容
POWER
(LED: 緑)
ALARM
(LED: 赤)
点灯
消灯
電源出力電圧正常
消灯
点灯
電源出力電圧異常
消灯
消灯
電源OFFまたは電源出力電圧異常 *1

*1 電源の障害内容によっては,POWER LEDおよびALARM LEDの両方が消灯する場合があります。

(3)  付属品

付属品はありません。

電源ケーブルはお客様で準備していただいたものを使用してください。

本装置をDC-48Vで使用する場合,電源ケーブルは弊社が指定する仕様のものを使用してください。それ以外のものを使用した場合,火災・感電の原因となります。

弊社が指定する仕様の電源ケーブルについては,「2.4.3  DC-48V電源設備」を参照してください。

目次前へ次へ

[他社商品名称に関する表示]

Copyright © 2007, 2009, ALAXALA Networks Corporation. All rights reserved.