ハードウェア取扱説明書

[目次][前へ][次へ]


4.6 メモリカードの取り付けと取り外し

メモリカードは,基本制御機構のメモリカードスロット0とメモリカードスロット1の両方に取り付けて使用します。

なお,基本制御機構を2重化している場合,基本制御機構0(BCU0)と基本制御機構1(BCU1)の両方の基本制御機構にメモリカードを取り付けてください。

<この節の構成>
(1) 取り付け方
(2) 取り外し方

(1) 取り付け方

【ステップ1】
メモリカードをメモリカードスロットに挿入します。

図4-22 メモリカードの取り付け

[図データ]


NOTE
メモリカードには表面と裏面があります。「記憶カード機構AX−F6243−66」または「記憶カード機構AX−F6243−66A2」と表示のあるラベルを貼ってある面を上にして取り付けてください。

【ステップ2】
矢印の方向にレバーを折り曲げてロックします。

図4-23 メモリカードのロック

[図データ]


NOTE
同様に,メモリカードスロット1にもメモリカードを取り付けます。
なお,基本制御機構を2重化している場合,BCU1の基本制御機構にもメモリカードを取り付けます。

(2) 取り外し方

【ステップ1】
矢印の方向にレバーを起こしてロックを外します。

図4-24 メモリカードのロックの外し方

[図データ]

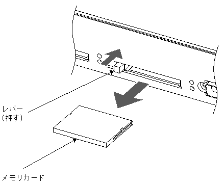
【ステップ2】
レバーを矢印の方向へ押してメモリカードを取り出します。

図4-25 メモリカードの取り出し

[図データ]


注意
基本制御機構(BCU)のACC LED点灯中はメモリカードにアクセス中です。アクセス中は絶対にメモリカードを取り外したり,電源を切断したりしないでください。メモリカードを破損する恐れがあります。
また,一部のコマンドでは,コマンド入力後メモリカードへのアクセスが終了するまでにしばらく時間がかかります。アクセスが終了したことを確認の上,メモリカードの取り外しや電源の切断を行なってください。

[目次][前へ][次へ]


[他社商品名称に関する表示]

Copyright (C) 2005, 2006 ALAXALA Networks Corporation. All rights reserved.