コンフィグレーションガイド

[目次][用語][索引][前へ][次へ]


11.5.3 本装置間でのIPv4 over IPv6トンネル

<この項の構成>
(1) 設定内容の概要
(2) 構成図と設定条件
(3) コンフィグレーション例

(1) 設定内容の概要

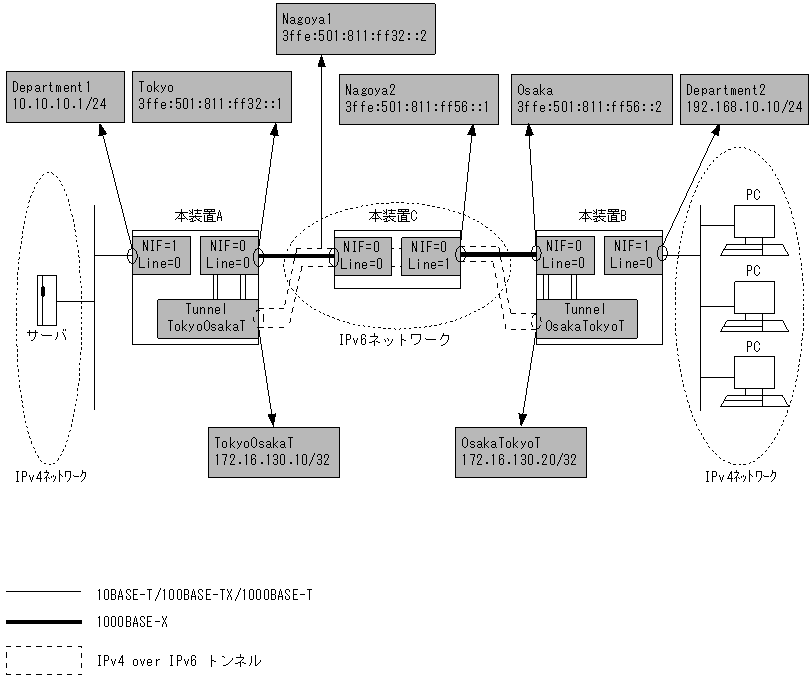
IPv4 over IPv6トンネルの設定例を示します。これによりIPv6ネットワークによって分断されたIPv4ネットワーク間でIPv4パケット通信を行うことができます。トンネルインタフェースはポイント-ポイント型固定のインタフェースとして扱われます。

(2) 構成図と設定条件

[構成図]

図11-25 構成図

[図データ]

[設定条件]
  1. 両端の10BASE-T/100BASE-TX/1000BASE-TXはIPv4ネットワークに属しており,装置Cを挟んで1000BASE-Xで接続されています。1000BASE-XはIPv6ネットワークに属しています。
  2. 本装置AとBのIPv6ネットワーク上にIPv4 over IPv6トンネルの設定を行います。
  3. 装置Cはトンネルを意識しないIPv6だけの設定を行います。
  4. 装置A,B,およびCでIPv6ネットワークの経路情報交換を行います。
  5. 装置AとBでIPv4,IPv6それぞれのネットワーク経路情報のスタティック定義を行います。

(3) コンフィグレーション例

[コマンドによる設定]

<本装置A>
 1    (config)# line Tokyo gigabit_ethernet 0/0
      [line Tokyo]
 2    (config)# ip 3ffe:501:811:ff32::1/64
      [line Tokyo]
 3    (config)# exit
 4    (config)# line Department1 ethernet 1/0
      [line Department1]
 5    (config)# ip 10.10.10.1/24
      [line Department1]
 6    (config)# exit
 7    (config)# tunnel TokyoOsakaT 3ffe:501:811:ff32::1 remote
                3ffe:501:811:ff56::2
      [tunnel TokyoOsakaT]
 8    (config)# ip 172.16.130.10/32 destination_ip_address 172.16.130.20
      [tunnel TokyoOsakaT]
 9    (config)# exit
10    (config)# ripng yes
      [ripng]
11    (config)# interface Tokyo
      [ripng interface Tokyo]
12    (config)# ripin
      [ripng interface Tokyo]
13    (config)# noripout
      [ripng interface Tokyo]
14    (config)# exit
      [ripng]
15    (config)# exit
16    (config)# static
      [static]
17    (config)# 192.168.10.0/24 gateway 172.16.130.20
      [static]
18    (config)# exit

表11-31 本装置Aのコンフィグレーション解説

解説番号 解説
1 NIF番号0,Line番号0にLine名Tokyoの1000BASE-X回線を定義します。
lineモードに移行します。
2 Tokyoをインタフェースとして,IPv6アドレス3ffe:501:811:ff32::1,プレフィックス長64を定義します。
3 lineモードからグローバルコンフィグモードに戻ります。
4 NIF番号1,Line番号0にLine名Department1の10BASE-T/100BASE-TX/1000BASE-T回線を定義します。
lineモードに移行します。
5 Department1をインタフェースとしてIPアドレス10.10.10.1/24を定義します。
6 lineモードからグローバルコンフィグモードに戻ります。
7 トンネルインタフェースTokyoOsakaTを定義し,カプセル化されたパケットが実際に通信する自インタフェースと相手装置のインタフェースのアドレスを定義します。
tunnelモードに移行します。
8 TokyoOsakaTをインタフェースとしてIPアドレス172.16.130.10/32,接続先IPアドレス172.16.130.20を定義します。
9 tunnelモードからグローバルコンフィグモードに戻ります。
10 RIPngプロトコルを動作させることを定義します。
ripngモードに移行します。
11〜13 TokyoのインタフェースでRIPngの受信だけを行い,送信はしないことを定義します。
ripng intefaceモードに移行します。
14 ripng intefaceモードからripngモードに戻ります。
15 ripngモードからグローバルコンフィグモードに戻ります。
16 スタティック経路を使用します。
staticモードに移行します。
17 192.168.10.0/24のIPv4ネットワーク経路を送信先インタフェース 172.16.130.20としてスタティック定義します。
18 staticモードからグローバルコンフィグモードに戻ります。

<本装置B>
 1    (config)# line Osaka gigabit_ethernet 0/0
      [line Osaka]
 2    (config)# ip 3ffe:501:811:ff56::2/64
      [line Osaka]
 3    (config)# exit
 4    (config)# line Department2 ethernet 1/0
      [line Department2]
 5    (config)# ip 192.168.10.10/24
      [line Department2]
 6    (config)# exit
 7    (config)# tunnel OsakaTokyoT 3ffe:501:811:ff56::2 remote
                3ffe:501:811:ff32::1
      [tunnel OsakaTokyoT]
 8    (config)# ip 172.16.130.20/32 destination_ip_address 172.16.130.10
      [tunnel OsakaTokyoT]
 9    (config)# exit
10    (config)# ripng yes
      [ripng]
11    (config)# interface Osaka
      [ripng interface Osaka]
12    (config)# ripin
      [ripng interface Osaka]
13    (config)# noripout
      [ripng interface Osaka]
14    (config)# exit
      [ripng]
15    (config)# exit
16    (config)# static
      [static]
17    (config)# 10.10.10.0/24 gateway 172.16.130.10
      [static]
18    (config)# exit

表11-32 本装置Bのコンフィグレーション解説

解説番号 解説
1 NIF番号0,Line番号0にLine名Osakaの1000BASE-X回線を定義します。
lineモードに移行します。
2 OsakaをインタフェースとしてIPv6アドレス3ffe:501:811:ff56::2,プレフィックス長64を定義します。
3 lineモードからグローバルコンフィグモードに戻ります。
4 NIF番号1,Line番号0にLine名Department2を定義します。
lineモードに移行します。
5 Department2をインタフェースとしてIPアドレス192.168.10.10/24を定義します。
6 lineモードからグローバルコンフィグモードに戻ります。
7 トンネルインタフェースOsakaTokyoTを定義し,カプセル化されたパケットが実際に通信する自インタフェースと相手装置のインタフェースのアドレスを定義します。
tunnelモードに移行します。
8 OsakaTokyoTをインタフェースとしてIPアドレス172.16.130.20/32,接続先IPアドレス172.16.130.10を定義します。
9 tunnelモードからグローバルコンフィグモードに戻ります。
10 RIPngプロトコルを動作させることを定義します。
ripngモードに移行します。
11〜13 OsakaのインタフェースでRIPngの受信だけを行い,送信はしないことを定義します。
ripng intefaceモードに移行します。
14 ripng intefaceモードからripngモードに戻ります。
15 ripngモードからグローバルコンフィグモードに戻ります。
16 スタティック経路を使用します。
staticモードに移行します。
17 10.10.10.0/24のIPv4ネットワーク経路を送信先インタフェース 172.16.130.10としてスタティック定義します。
18 staticモードからグローバルコンフィグモードに戻ります。

<本装置C>
 1    (config)# line Nagoya1 gigabit_ethernet 0/0
      [line Nagoya1]
 2    (config)# ip 3ffe:501:811:ff32::2/64
      [line Nagoya1]
 3    (config)# exit
 4    (config)# line Nagoya2 gigabit_ethernet 0/1
      [line Nagoya2]
 5    (config)# ip 3ffe:501:811:ff56::1/64
      [line Nagoya2]
 6    (config)# exit
 7    (config)# ripng yes
      [ripng]
 8    (config)# interface all
      [ripng interface all]
 9    (config)# ripin
      [ripng interface all]
10    (config)# ripout
      [ripng interface all]
11    (config)# exit
      [ripng]
12    (config)# exit

表11-33 本装置Cのコンフィグレーション解説

解説番号 解説
1 NIF番号0,Line番号0にLine名Nagoya1の1000BASE-X回線を定義します。
lineモードに移行します。
2 Nagoya1をインタフェースとしてIPv6アドレス3ffe:501:811:ff32::2,プレフィックス長64を定義します。
3 lineモードからグローバルコンフィグモードに戻ります。
4 NIF番号0,Line番号1にLine名Nagoya2の1000BASE-X回線を定義します。
lineモードに移行します。
5 Nagoya2をインタフェースとしてIPv6アドレス3ffe:501:811:ff56::1,プレフィックス長64を定義します。
6 lineモードからグローバルコンフィグモードに戻ります。
7 RIPngプロトコルを動作させることを定義します。
ripngモードに移行します。
8〜10 すべてのインタフェースでRIPngを動作させることを定義します。
ripng intefaceモードに移行します。
11 ripng intefaceモードからripngモードに戻ります。
12 ripngモードからグローバルコンフィグモードに戻ります。

[コンフィグレーションの表示]

<本装置A>
line Tokyo gigabit_ethernet 0/0
  ip 3ffe:501:811:ff32::1/64
!
line Department1 ethernet 1/0
  ip 10.10.10.1/24
!
tunnel TokyoOsakaT 3ffe:501:811:ff32::1 remote 3ffe:501:811:ff56::2
  ip destination_ip_address 172.16.130.20
  ip 172.16.130.10/32
!
ripng yes
  interface Tokyo
    ripin
    noripout
!
static
  192.168.10.0/24 gateway 172.16.130.20

<本装置B>
line Osaka gigabit_ethernet 0/0
  ip 3ffe:501:811:ff56::2/64
!
line Department2 ethernet 1/0
  ip 192.168.10.10/24
!
tunnel OsakaTokyoT 3ffe:501:811:ff56::2 remote 3ffe:501:811:ff32::1
  ip destination_ip_address 172.16.130.10
  ip 172.16.130.20/32
!
ripng yes
  interface Osaka
    ripin
    noripout
!
static
  10.10.10.0/24 gateway 172.16.130.10

<本装置C>
line Nagoya1 gigabit_ethernet 0/0
  ip 3ffe:501:811:ff32::2/64
!
line Nagoya2 gigabit_ethernet 0/1
  ip 3ffe:501:811:ff56::1/64
!
ripng yes
  interface all
    ripin
    ripout

[目次][前へ][次へ]


[他社商品名称に関する表示]

Copyright (c)2005, 2011, ALAXALA Networks Corporation. All rights reserved.