ハードウェア取扱説明書

目次前へ次へ

1.7.4 QSFP+

QSFP+は40ギガビットイーサネットに対応したトランシーバで,装置本体のQSFP+スロットに装着して使用します。

QSFP+の種類の違いは,ラベルの表示,レバーの色,またはラベルの色で見分けることができます。

本装置がサポートするQSFP+ は「表1-49  QSFP+一覧」のとおりです。

QSFP+が装置に取り付けられている場合は,show portコマンドを使用して,表示されるインタフェース情報からQSFP+の種類を見分けることもできます。
show portコマンドについては,「ソフトウェアマニュアル 運用コマンドレファレンス Vol.1 14. イーサネット」を参照してください。

表1-49 QSFP+一覧
番号
モジュール名称
インタフェース
サポートするモデル
1
QSFP-SR4
40ギガビットイーサネット40GBASE-SR4
AX3830S-44X4QW
AX3830S-44X4QS
2
QSFP-LR4
40ギガビットイーサネット40GBASE-LR4
AX3830S-44X4QW
AX3830S-44X4QS

レーザー光を使用しています(レーザー光は無色透明で目には見えません)。光送受信部を直接のぞいたり,光学機器を通してのぞいたりしないでください。

トランシーバにラベルなどを貼り付けたりしないでください。
トランシーバには,メーカおよび弊社の標準品であることを示すラベルを貼り付けています。ただし,このラベルを貼り付けているのは,トランシーバの放熱や,ケージからの抜けを防止する機構の妨げにならない部分です。
放熱や抜け防止機構の妨げになるところにラベルなどを貼り付けると,トランシーバが故障したり,装置を破損したりするおそれがあります。

弊社の標準品(図に示すラベルのあるもの)を使用してください。標準品以外のものを使用した場合,動作の保証はいたしません。

QSFP-SR4に添付されるカバーを取り外す際には水平方向に引っ張ってください。

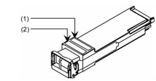
(1)  QSFP-SR4

図1-118 外観
(1) ラベルの表示: AlaxalA QSFP-SR4
(2) レバーの色: ベージュ

(2)  QSFP-LR4

図1-119 外観
(1) ラベルの表示: AlaxalA QSFP-LR4
(2) ラベルの色: 青
目次前へ次へ

[他社商品名称に関する表示]

Copyright © 2005, 2013, ALAXALA Networks Corporation. All rights reserved.