ハードウェア取扱説明書

目次前へ次へ

4.6.3 DC電源ケーブルの取り付けと取り外し

(1)  取り付け方

DC電源ケーブルは弊社が指定する仕様のものを使用してください。それ以外のものを使用すると,火災・感電の原因となります。

DC電源ケーブルの取り付け,取り外しは,教育を受けた技術者または保守員が行なってください。DC電源ケーブルでは端子盤への接続を行ないます。そのため,DC電源ケーブルの取り扱いを誤ると,火災・感電の原因となります。

DC電源ケーブルの取り付け,取り外しを行なう場合は,作業を行なう前に電源設備のブレーカをOFFにしてください。電源設備のブレーカをONにしたまま作業を行なうと,感電の原因となります。

弊社が指定する仕様の電源ケーブルについては,「2.4.3  DC-48V電源設備」を参照してください。

【ステップ1】

端子盤のカバーを取り外します。

図4-25 端子盤のカバーの取り外し
(1) 電源機構
(2) 端子盤のカバー
(3) ネジ(M3)

【ステップ2】

端子盤から端子カバーを取り外します。

図4-26 端子カバーの取り外し
(1) 端子カバー

【ステップ3】

0V端子,-48V端子,接地端子のネジを取り外します。

図4-27 ネジの取り外し
(1) 0V端子
(2) -48V端子
(3) 接地端子
(4) ネジ(M6)

接地端子に,下図のような二つ穴のタイプのものを使用する場合は,接地端子のネジを二つとも取り外してください。

【ステップ4】

ケーブルクランプのネジをゆるめます。

図4-28 ケーブルクランプの解放
(1) ケーブルクランプ
(2) ネジ(M5)

【ステップ5】

DC電源ケーブルをケーブルクランプに通し,接地端子をネジで止めます。

図4-29 接地端子の固定
(1) DC電源ケーブル
(2) ケーブルクランプ
(3) 接地端子
(4) ネジ(M6)

DC電源に接続する場合には,必ず接地端子を接続してください。接地を取らずに使用すると,感電の原因となるとともに,電気的雑音により,障害発生の原因となります。

接地端子に,下図のような二つ穴のタイプのものを使用する場合は,接地端子を2本のネジで止めてください。

【ステップ6】

0V端子,-48V端子の順にネジで止めます。

図4-30 0V端子,-48V端子の固定
(1) 0V端子
(2) -48V端子
(3) ネジ(M6)

【ステップ7】

DC電源ケーブルをケーブルクランプで固定します。(ケーブルクランプのネジを締めます。)

図4-31 DC電源ケーブルの固定
(1) ケーブルクランプ
(2) ネジ(M5)

【ステップ8】

端子カバーを取り付けます。

図4-32 端子カバーの取り付け
(1) 端子カバー

【ステップ9】

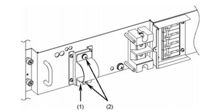
端子盤のカバーを取り付けます。

図4-33 端子盤のカバーの取り付け
(1) 端子盤のカバー
(2) ネジ(M3)

DC電源ケーブルを取り付けた後は,端子盤のカバーを取り付けてください。端子盤のカバーを取り外したまま使用すると,感電の原因となります。

(2)  取り外し方

ケーブルを取り外す時には,「(1) 取り付け方」と逆の手順で行なってください。

DC電源ケーブルの取り付け,取り外しは,教育を受けた技術者または保守員が行なってください。DC電源ケーブルでは端子盤への接続を行ないます。そのため,DC電源ケーブルの取り扱いを誤ると,火災・感電の原因となります。

DC電源ケーブルの取り付け,取り外しを行なう場合は,作業を行なう前に電源設備のブレーカをOFFにしてください。電源設備のブレーカをONにしたまま作業を行なうと,感電の原因となります。

目次前へ次へ

[他社商品名称に関する表示]

Copyright © 2006, 2009, ALAXALA Networks Corporation. All rights reserved.