コンフィグレーションガイド

[目次][用語][索引][前へ][次へ]


13.1.2 IPv6 PIM-SMプロトコル(静的ランデブーポイント)

<この項の構成>
(1) 設定内容の概要
(2) 構成図と設定条件
(3) コンフィグレーション例

(1) 設定内容の概要

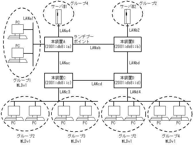
サーバ#1,サーバ#2と複数のグループが存在するネットワークにおいて,サーバ#1と各グループ間のIPv6マルチキャスト通信とサーバ#2と各グループ間の静的ランデブーポイントを使用したIPv6マルチキャスト通信を行います。

(2) 構成図と設定条件

[構成図]

図13-2 マルチキャスト構成図(IPv6 PIM-SM 静的ランデブーポイント)

[図データ]

[設定条件]

<ネットワークの環境>
  1. 本装置間のIPv6マルチキャストルーティングプロトコルはIPv6 PIM-SMを使用します。
    また,ランデブーポイントは静的ランデブーポイントを使用し,各グループと本装置間はMLDプロトコルを使用します。
    (前提条件としてすべてのルータでIPv6ユニキャストルーティングプロトコルの動作が必要です)
    使用するグループはff15::/16とします。

<本装置Aの環境>
  1. 本装置A−本装置B/C間のIPv6マルチキャスト経路制御はIPv6 PIM-SMを使用します。
  2. 本装置Aとグループ1間のグループ管理制御はMLDv1を使用します。
  3. 本装置Aの装置アドレスを2001:db8::aとします。
  4. 本装置Aをランデブーポイントとします。

<本装置Bの環境>
  1. 本装置B−本装置A/D間のIPv6マルチキャスト経路制御はIPv6 PIM-SMを使用します。
  2. 本装置Bの装置アドレスを2001:db8::bとします。
  3. 静的ランデブーポイントとして本装置Aを指定します。

<本装置Cの環境>
  1. 本装置C−本装置A/D間のIPv6マルチキャスト経路制御はIPv6 PIM-SMを使用します。
  2. 本装置Cとグループ2/3間のグループ管理制御はMLDv1を使用します。
  3. 本装置Cの装置アドレスを2001:db8::cとします。
  4. 静的ランデブーポイントとして本装置Aを指定します。

<本装置Dの環境>
  1. 本装置D−本装置B/C間のIPv6マルチキャスト経路制御はIPv6 PIM-SMを使用します。
  2. 本装置Dとグループ2/4間のグループ管理制御はMLDv1を使用します。
  3. 本装置Dの装置アドレスを2001:db8::dとします。
  4. 静的ランデブーポイントとして本装置Aを指定します。

(3) コンフィグレーション例

[コマンドによる設定]

<本装置A>
 1    (config)# system psu_resource l3switch-12 
 2    (config)# local-address 2001:db8::a
 3    (config)# pim6 yes
      [pim6]
 4    (config)# sparse
      [pim6 sparse]
 5    (config)# interface LANab
      [pim6 sparse interface LANab]
 6    (config)# exit
      [pim6 sparse]
 7    (config)# interface LANac
      [pim6 sparse interface LANac]
 8    (config)# exit
      [pim6 sparse]
 9    (config)# candidate-rp yes
      [pim6 sparse candidate-rp]
10    (config)# group ff15::/16
      [pim6 sparse candidate-rp]
11    (config)# exit
      [pim6 sparse]
12    (config)# static-rp yes
      [pim6 sparse static-rp]
13    (config)# rp-address 2001:db8::a
      [pim6 sparse static-rp rp-address 2001:db8::a]
14    (config)# group ff15::/16
      [pim6 sparse static-rp rp-address 2001:db8::a]
15    (config)# exit
      [pim6 sparse static-rp]
16    (config)# exit
      [pim6 sparse]
17    (config)# exit
      [pim6]
18    (config)# exit
19    (config)# mld
      [mld]
20    (config)# interface LANa1
      [mld interface LANa1]
21    (config)# exit
      [mld]
22    (config)# interface LANa4
      [mld interface LANa4]
23    (config)# exit
      [mld]
24    (config)# exit

注※
例のシンタックスはAX7800Sの場合です。AX5400Sでは以下になります。
(config)# system bsu_resource l3switch-12

表13-5 本装置Aのコンフィグレーション解説

解説番号 解説
1 PSU(AX5400Sの場合はBSU)上のハードウェアテーブルにIPv6マルチキャスト経路が使用できるパターンを設定します。
2 装置アドレスとして2001:db8::aを定義します。
3〜8 インタフェースLANab,LANacでIPv6 PIM-SMおよびMLDv1を動作させることを定義します。
9〜11 ランデブーポイント候補としてグループアドレスff15::/16を定義します。
12〜18 静的ランデブーポイントを2001:db8::a(本装置A)に設定します。
19〜24 インタフェースLANa1,LANa4でMLDv1を動作させることを定義します。

<本装置B>
 1    (config)# system psu_resource l3switch-12 
 2    (config)# local-address 2001:db8::b
 3    (config)# pim6 yes
      [pim6]
 4    (config)# sparse
      [pim6 sparse]
 5    (config)# interface LANab
      [pim6 sparse interface LANab]
 6    (config)# exit
      [pim6 sparse]
 7    (config)# interface LANbd
      [pim6 sparse interface LANbd]
 8    (config)# exit
      [pim6 sparse]
 9    (config)# static-rp yes
      [pim6 sparse static-rp]
10    (config)# rp-address 2001:db8::a
      [pim6 sparse static-rp rp-address 2001:db8::a]
11    (config)# group ff15::/16
      [pim6 sparse static-rp rp-address 2001:db8::a]
12    (config)# exit
      [pim6 sparse static-rp rp-address]
13    (config)# exit
      [pim6 sparse static-rp]
14    (config)# exit
      [pim6 sparse]
15    (config)# exit
      [pim6]
16    (config)# exit
17    (config)# mld
      [mld]
18    (config)# interface LANb2
      [mld interface LANb2]
19    (config)# exit
      [mld]
20    (config)# exit

注※
例のシンタックスはAX7800Sの場合です。AX5400Sでは以下になります。
(config)# system bsu_resource l3switch-12

表13-6 本装置Bのコンフィグレーション解説

解説番号 解説
1 PSU(AX5400Sの場合はBSU)上のハードウェアテーブルにIPv6マルチキャスト経路が使用できるパターンを設定します。
2 装置アドレスとして2001:db8::bを定義します。
3〜8 インタフェースLANab,LANbdでIPv6 PIM-SMおよびMLDv1を動作させることを定義します。
9〜16 静的ランデブーポイントを2001:db8::a(本装置A)に設定します。
17〜20 インタフェースLANb2でMLDv1を動作させることを定義します。

<本装置C>
 1    (config)# system psu_resource l3switch-12 
 2    (config)# local-address 2001:db8::c
 3    (config)# pim6 yes
      [pim6]
 4    (config)# sparse
      [pim6 sparse]
 5    (config)# interface LANac
      [pim6 sparse interface LANac]
 6    (config)# exit
      [pim6 sparse]
 7    (config)# interface LANcd
      [pim6 sparse interface LANcd]
 8    (config)# exit
      [pim6 sparse]
 9    (config)# static-rp yes
      [pim6 sparse static-rp]
10    (config)# rp-address 2001:db8::a
      [pim6 sparse static-rp rp-address 2001:db8::a]
11    (config)# group ff15::/16
      [pim6 sparse static-rp rp-address 2001:db8::a]
12    (config)# exit
      [pim6 sparse static-rp rp-address]
13    (config)# exit
      [pim6 sparse static-rp]
14    (config)# exit
      [pim6 sparse]
15    (config)# exit
      [pim6]
16    (config)# exit
17    (config)# mld
      [mld]
18    (config)# interface LANc3
      [mld interface LANc3]
19    (config)# exit
      [mld]
20    (config)# exit

注※
例のシンタックスはAX7800Sの場合です。AX5400Sでは以下になります。
(config)# system bsu_resource l3switch-12

表13-7 本装置Cのコンフィグレーション解説

解説番号 解説
1 PSU(AX5400Sの場合はBSU)上のハードウェアテーブルにIPv6マルチキャスト経路が使用できるパターンを設定します。
2 装置アドレスとして2001:db8::cを定義します。
3〜8 インタフェースLANca,LANcdでIPv6 PIM-SMおよびMLDv1を動作させることを定義します。
9〜16 静的ランデブーポイントを2001:db8::a(本装置A)に設定します。
17〜20 インタフェースLANc3でMLDv1を動作させることを定義します。

<本装置D>
 1    (config)# system psu_resource l3switch-12 
 2    (config)# local-address 2001:db8::d
 3    (config)# pim6 yes
      [pim6]
 4    (config)# sparse
      [pim6 sparse]
 5    (config)# interface LANbd
      [pim6 sparse interface LANbd]
 6    (config)# exit
      [pim6 sparse]
 7    (config)# interface LANcd
      [pim6 sparse interface LANcd]
 8    (config)# exit
      [pim6 sparse]
 9    (config)# static-rp yes
      [pim6 sparse static-rp]
10    (config)# rp-address 2001:db8::a
      [pim6 sparse static-rp rp-address 2001:db8::a]
11    (config)# group ff15::/16
      [pim6 sparse static-rp rp-address 2001:db8::a]
12    (config)# exit
      [pim6 sparse static-rp rp-address]
13    (config)# exit
      [pim6 sparse static-rp]
14    (config)# exit
      [pim6 sparse]
15    (config)# exit
      [pim6]
16    (config)# exit
17    (config)# mld
      [mld]
18    (config)# interface LANd4
      [mld interface LANd4]
19    (config)# exit
      [mld]
20    (config)# exit

注※
例のシンタックスはAX7800Sの場合です。AX5400Sでは以下になります。
(config)# system bsu_resource l3switch-12

表13-8 本装置Dのコンフィグレーション解説

解説番号 解説
1 PSU(AX5400Sの場合はBSU)上のハードウェアテーブルにIPv6マルチキャスト経路が使用できるパターンを設定します。
2 装置アドレスとして2001:db8::dを定義します。
3〜8 インタフェースLANbd,LANcdでIPv6 PIM-SMおよびMLDv1を動作させることを定義します。
9〜16 静的ランデブーポイントを2001:db8::a(本装置A)に設定します。
17〜20 インタフェースLANd4でMLDv1を動作させることを定義します。

[コンフィグレーションの表示]

<本装置A>
system psu_resource l3switch-12 
!
local-address 2001:db8::a
!
pim6 yes
  sparse
    interface LANab
    interface LANac
    candidate-rp yes
      group ff15::/16
    static-rp yes
      rp-address 2001:db8::a
        group ff15::/16
!
mld
  interface LANa1
  interface LANa4

<本装置B>
system psu_resource l3switch-12 
!
local-address 2001:db8::b
!
pim6 yes
  sparse
    interface LANab
    interface LANbd
    static-rp yes
      rp-address 2001:db8::a
        group ff15::/16
!
mld
  interface LANb2

<本装置C>
system psu_resource l3switch-12 
!
local-address 2001:db8::c
!
pim6 yes
  sparse
    interface LANac
    interface LANcd
    static-rp yes
      rp-address 2001:db8::a
        group ff15::/16
!
mld
  interface LANc3

<本装置D>
system psu_resource l3switch-12 
!
local-address 2001:db8::d
!
pim6 yes
  sparse
    interface LANbd
    interface LANcd
    static-rp yes
      rp-address 2001:db8::a
        group ff15::/16
!
mld
  interface LANd4

注※
例のシンタックスはAX7800Sの場合です。AX5400Sでは以下になります。
system bsu_resource l3switch-12

[目次][前へ][次へ]


[他社商品名称に関する表示]

Copyright (c)2005, 2011, ALAXALA Networks Corporation. All rights reserved.